Новий RockShox Boxxer: що означають загадкові «точки» на ногах?

Коли у новому RockShox Boxxer уважні райдери вперше помітили дивні вдавлення на нижній частині ніг, це викликало хвилю здогадок. Дехто припускав, що це декоративний елемент, інші ж вбачали у них ознаку нової конструктивної технології.

З часом стало зрозуміло, що зміни у Boxxer справді серйозні: зросли діаметри стійок, перероблено внутрішню будову, і виробник явно приділив більше уваги плавності та довговічності роботи вилки. Але головна інтрига полягала саме в цих «точках» — що вони означають?

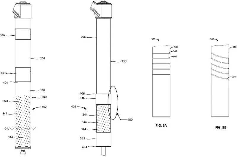
Відповідь дала офіційна патентна документація SRAM. Згідно з патентом, ці невеликі вдавлення виконують дуже конкретну функцію: вони діють як своєрідні резервуари для мастила. Під час роботи вилки мастило розподіляється через втулки та зберігається у цих лунках, забезпечуючи постійне змащення поверхні. Це зменшує тертя, сповільнює знос деталей і підвищує загальну плавність ходу.
Таким чином, те, що спершу здавалося дизайнерською «фішкою», насправді є продуманим технічним рішенням. RockShox зробив крок уперед у розвитку технологій амортизації, і тепер навіть дрібні деталі, як ці точки на штоках, відіграють важливу роль у роботі вилки.
